上海誠格生產的阻燃服執行標準:GB 8965.1-2009 防護服裝 阻燃防護 第1部分:阻燃服

1范圍
GB 8965的本部分規定了阻燃服的技術要求、檢驗(測試)方法、檢驗規則、標志、包裝及貯存。
本部分適用于服用者從事有明火、散發火花、在熔融金屬附近操作和有易燃物質并有發火危險的場所穿的阻燃服。
本部分不適用于消防救援中穿用的阻燃防護服。
2 規范性引用文件
下列文件中的條款通過GB 8965的本部分的引用而成為本部分的條款。凡是注明日期的引用文件,其隨后所有的修改單(不包括勘誤的內容)或修訂版均不適用于本部分,然而,鼓勵根據本部分達成協議的各方研究是否可使用這些文件的最新版本。凡是不注日期的引用文件,其最新版本適用于本部分。
GB/T 250 評定變色用灰色樣卡
GB/T 2912.1 紡織品 甲醛的測定 第1部分:游離水解的甲醛(水萃取法)
GB/T 3916-1997 紡織品 卷裝紗 單根紗斷裂強力和斷裂伸長率的測定
GB/T 3917.3 紡織品 織物撕破性能 第3部分:梯形試樣撕破強力的測定
GB/T 3920 紡織品 色牢度試驗 耐摩擦色牢度
GB/T 3921.1 紡織品 色牢度試驗 耐洗色牢度:試驗1
GB/T 3921.3 紡織品 色牢度試驗 耐洗色牢度:試驗3
GB/T 3922 紡織品 耐汗漬色牢度試驗方法
GB/T 3923.1紡織品 織物拉伸性能 第1部分:斷裂強力和斷裂伸長率的測定條樣法
GB/T 4802.1 紡織品 織物起球試驗 圓軌跡法
GB 5296.4消費品使用說明 紡織品和服裝使用說明
GB/T 5455紡織品 阻燃性能測試 垂直法
GB/T 5713紡織品 色牢度試驗 耐水色牢度
GB/T 7573紡織品 水萃取液pH值的測定
GB/T 8628紡織品 測定尺寸變化的試驗中織物試樣和服裝的準備、標記及測量
GB/T 8629-2001紡織品 試驗用家庭洗滌和干燥程序
GB/T 8630紡織品 洗滌和干燥后尺寸變化的測定
GB/T 13171 洗衣粉
GB/T 13640 勞動防護服號型
GB/T 12704織物透濕量測定方法 透濕杯法
GB/T 12903個人防護用品術語
GB/T 17591 阻燃織物
GB/T 17596-1998紡織品 織物燃燒試驗前的商業洗滌程序
GB/T 18318紡織品 織物彎曲長度的測定
GB 18401國家紡織產品基本安全技術規范
GB 20653-2006 職業用高可視性警示服
FZ/T 81007 單夾服
3 術語和定義
GB/T 12903確立的以及下列術語和定義適用于GB 8965的本部分。
3.1
阻燃防護服 flame-retardant protective clothing
在接觸火焰及熾熱物體后,在一定時間內能阻止本身被點燃、有焰燃燒和陰燃的防護服。
3.2
續燃時間 afterflame time
在規定的試驗條件下,移開(點)火源后材料持續有焰燃燒的時間。
3.3
陰燃時間 afterglow time
在規定的試驗條件下,當有焰燃燒終止后,或者移開(點)火源后材料持續無焰燃燒的時間。
3.4
損毀長度 damage length
在規定的試驗條件下,材料損毀面積在規定方向上的最大長度。
3.5
熱防護性能 TPP Thermal protective performance
透過織物引起人體二度燒傷的熱能值。
注:熱防護性能的值越高,織物的熱防護性能越強。
4 分級
阻燃防護服分為A、B、C三個級別。
a) A級適用于服用者從事有明火、散發火花、在熔融金屬附近操作有輻射熱和對流熱的場合穿用的阻燃服。A級阻燃防護服的材料要求見表1、表2。
b) B級適用于服用者從事在有明火、散發火花、有易燃物質并有發火危險的場所穿用的阻燃服。 B級阻燃防護服的材料要求見表1、表2。
c) C級適用于臨時、不長期使用的服用者從事在有易燃物質并有發火危險的場所穿用的阻燃服。 C級阻燃防護服的材料要求見表1、表2。
5 要求
5.1 材料
5.1.1 面料
5.1.1.1 阻燃性
面料阻燃性分為A、B、C三個等級。阻燃性能項目和指標見表1。按附錄A、6.1、6.2規定試驗時,洗滌后的阻燃性應達到表1規定。
表1 面料阻燃性能項目和指標
| 測試項目 | 防護等級 | 指 標 | 洗滌次數 |
| 熱防護系數TPP/(kW·s/m2) | A級 | 皮膚直接接觸:≥126皮膚與服裝間有空隙:≥250 | 50 |
| B級 | ― | ― | |
| C級 | ― | ― | |
| 續燃時間/s | A級 | ≤2 | 50 |
| B級 | ≤2 | ||
| C級 | ≤5 | 12 | |
| 陰燃時間/s | A級 | ≤2 | 50 |
| B級 | ≤2 | ||
| C級 | ≤5 | 12 | |
| 損毀長度/mm | A級 | ≤50 | 50 |
| B級 | ≤100 | ||
| C級 | ≤150 | 12 | |
| 熔融、滴落 | A、B、C | 不允許 | — |
| 注1:按照GB/T 17596-1998中第7章的洗滌條件洗滌12.5h、漂洗1.5h、漂洗過程中換水兩次,然后脫水4min。整個過程為洗滌50次。按照GB/T 17596-1998中第7章的洗滌條件洗滌3h、漂洗0.5h,漂洗過程中換水兩次,然后脫水4min。 整個過程為洗滌12次。注2:熱防護系數對應的人體組織對二級燒傷的忍耐程度見表A.1。 | |||
5.1.1.2 內在質量
阻燃服材料內在質量應符合表2的要求。
表2 面料理化性能項目和指標
| 項 目 | 指 標 | |
| 斷裂強力/N | 洗前 | ≥450 |
| 洗后 | ≥400 | |
| 撕破強力(洗前)/N | ≥25 | |
| 透濕量/[g/m2·24h] | ≥6000 | |
| 彎曲長度/cm | ≤3 | |
| 起球/級 | ≤3 | |
| 水洗尺寸變化率/% | +2.5~-2.5 | |
| 熱穩定性/% | ≤10 | |
| 色牢度/級 | 耐洗(變色/沾色) | ≥4/3-4 |
| 耐水(變色/沾色) | ≥4/3-4 | |
| 耐干摩擦 | ≥3-4 | |
| 耐濕摩擦 | ≥3 | |
| 耐汗漬(變色/沾色) | ≥3-4/3-4 | |
| 甲醛含量/(mg/kg) | 直接接觸皮膚 | ≤75 |
| 非直接接觸皮膚 | ≤300 | |
| pH | ― | 4.0~9.0 |
5.1.1.3 外觀質量
阻燃服面料的外觀質量應符合GB/T 17591中的有關規定。
5.1.2 縫紉線
5.1.2.1 強力
按6.13規定試驗時,單線強力不小于10N。
5.1.2.2 阻燃性
按6.14規定試驗時,不熔融和燒焦現象。
5.1.3 附件、輔料與襯布
5.1.3.1 附件及輔料
a) 扣、鉤、拉鏈應便于連接和解脫,扣、鉤、拉鏈的材質不應使用易熔、易燃、易變形的材料,若必須 使用時其表面需加阻燃衣料掩襟。
b) 金屬部件不應與身體直接接觸。如使用橡筋類材料,包覆材料必須阻燃。必須使用里料時,里料要求不熔融。
c) 使用反光帶等配料,配料必須是阻燃材料,反光帶的逆反射系數符合GB 20653-2006中6.1 的2級以上反光材料的要求,阻燃性能符合本部分的相關要求。
5.1.3.2 襯布
滌棉、棉類面料的服裝可敷熱熔粘合襯;用于領子、褂面、袖頭、下擺卡夫、褲腰、袋蓋等部位。敷料部位不滲膠、水洗20次不起泡、不脫層。
5.2 款式
款式應簡潔、實用、美觀,宜在如下款式中選用:
a) 上、下裝分離式;
b) 衣褲(帽)連體式等。
5.3 結構
5.3.1 安全、衛生,有利于人體正常生理要求與健康。
5.3.2 適應作業時肢體活動,便于穿脫。穿著尺寸要求寬松。
5.3.3 明衣袋必須帶袋蓋,上衣長度應蓋住褲子上端20 cm以上,袖口、腳口、領子應收口,袋蓋長度應大于袋口長度2 cm。褲子兩側口袋不得用斜插袋,避免明省、活褶向上倒,以免飛濺熔融的金屬、火花進入或積存。
5.3.4 在作業中不易引起鉤、掛、絞、碾。
5.3.5 在適宜處可留有透氣孔隙,以便排汗散濕調節體溫。但通風孔隙不得影響服裝強度,孔隙結構不得使外界異物進人服裝內部。
5.4 號型及規格
5.4.1 號型
根據款式及使用要求,參照GB/T 13640選定,超出GB/T 13640范圍按檔差自行設置。
5.4.2規格尺寸
根據防護要求、款式及適體情況參照GB/T 13640中控制部位,設定服裝成品尺寸,成品尺寸測量位置應符合FZ/T 81007規定,尺寸極限偏差可根據不同款式參照表3確定,超出規定的可自行確定。
表3 極限偏差 單位為厘米
| 部位名稱 | 尺寸極限允許偏差 | |
| 領大 | 士0.6 | |
| 衣長 | 上衣 | 士1.0 |
| 上、下裝連體 | 士 2.0 | |
| 總肩寬 | 士0.8 | |
| 胸圍 | 士2.0 | |
| 袖長 | 裝袖 | 士 0.8 |
| 連肩袖 | 士1.2 | |
| 褲腰圍 | 士1.0 | |
| 褲長 | 士1.5 | |
5.5 縫制
5.5.1 針距
各種縫紉線針距應符合表4規定。
表4 縫紉針距
| 項 目 | 針距密度 | 備 注 | |
| 明暗線 | 3cm不少于12針 | 特殊需要除外 | |
| 包縫線 | 3cm不少于9針 | ― | |
| 手工針 | 3cm不少于7針 | 肩縫、袖窿、領子不少于9針 | |
| 三角針 | 3cm不少于5針 | 以單面計 | |
| 鎖眼 | 細線 | 1cm不少于12針 | 機鎖眼 |
| 粗線 | 1cm 不少于9針 | 手工鎖眼 | |
| 釘扣 | 細線 | 每眼不少于8根 | 纏腳線高度與止口厚度相適應 |
| 粗線 | 每眼不少于6根 | ||
5.5.2 縫制工藝
5.5.2.1 各部位縫合平服,線路順直、整齊、牢固,針跡均勻,上下線松緊要適宜,起止針處及袋口應回針緝牢。
5.5.2.2 商標位置端正,號型標志清晰、正確。
5.5.2.3 绱袖園順,位置適宜。
5.5.2.4領子平服,不反翹,領子部位明線不能有接線。绱袖園順,位置適宜。
5.5.2.5所有外露縫份應全部包縫。
5.5.2.6各部位縫頭不小于0.8cm。
5.5.2.7褲后襠縫用雙道線或鏈式線縫合。
5.5.2.8眼位不偏斜,鎖眼針跡美觀、整齊、平服。
5.5.2.9釘扣要牢固,不得釘在單層布上(裝飾扣除外;)。四合扣牢固,吻合適度,無變形或過緊現象。扣與扣眼及四合扣上下要對位。
5.5.2.10绱門襟拉鏈平服,左右高低一致。
5.5.2.11對稱部位基本一致。
5.5.2.12各部位30 cm內不得有兩處跳線和連續跳線,鏈式線跡不允許跳線。
5.5.2.13面里平服,不反翹,無明顯抽皺。
5.5.2.14左右對稱,部件定位準確。
5.6 外觀
5.6.1 整潔美觀、熨燙平展、定型充分、整疊規整,無燙黃和水漬。
5.6.2 同色面料服裝每套(件、條)各部位表面顏色互差不低于4級,非表面部位顏色不低于3-4級,色差評定級別應符合GB/T 250規定。
5.6.3 疵點、污漬對產品美觀和牢固無影響,判定應在室內標準光照明條件下距產品1.5m處觀察,不允許斷經斷緯及破損。
5.7 服裝成品理化性能
5.7.1 成品水洗后的尺寸變化率
成品水洗后的尺寸變化率按表5規定。
表5 水洗尺寸變化率
| 部 位 | 一等品 | 備 注 |
| 領大 | ≥-1.0 | 只考核立領 |
| 朐圍 | ≥-2.0 | |
| 衣長 | ≥-2.5 | |
| 腰圍 | ≥-1.0 | |
| 褲長 | ≥-2.5 |
5.7.2 褲后襠接縫和肩縫強力
褲后襠接縫和肩峰接縫強力不小于320N/(5cm×10cm)。
5.7.3 甲醛含量限量
成品釋放甲醛含量限量應符合GB 18401,直接接觸皮膚的服裝不大于75 mg/kg,非直接接觸皮膚的服裝不大于300 mg/kg。
5.7.4 pH值限量
成品的pH值限量應符合GB 18401,為4.0~9.0.
6 試驗方法
6.1 面料的熱防護系數測定按附錄A規定執行,其余阻燃性能試驗方法按GB/T 5455執行。
6.2 阻燃性能試驗前的洗滌程序按GB/T 17596-1998中“自動洗衣機(A型)緩和洗衣程序”執行,洗滌次數為50次或12次,詳見表1注。洗衣粉按GB/T 13171的規定選擇。
6.3 面料水洗尺寸變化率試驗方法按GB/T 8628和GB/T 8630的規定執行,采用GB/T 8629-2001 中的5A程序洗滌和程序A干燥。如果使用說明上為輕柔洗滌或手洗,則采用7A或仿手洗程序洗滌。
6.4 面料的熱穩定性試驗A級在(260℃±5℃)條件下、B、C級在(180℃±2℃)條件下按附錄B執行。
6.5 面料的斷裂強力試驗按GB/T 3923.1執行。
6.6 面料的撕破強力試驗按GB/T 3917.3執行。
6.7 面料的透濕量試驗按GB/T 12704方法A規定執行。
6.8面料的硬挺度試驗按GB/T 18318規定執行。
6.9面料起球試驗GB/T 4802.1規定執行。
6.10耐洗色牢度的試驗按GB/T 3921.1或GB/T 3921. 3規定執行。
6.11耐汗漬色牢度的試驗按GB/T 3922規定執行。
6.12 耐摩擦色牢度的試驗按GB/T 3920規定執行。
6.13縫紉線強力試驗按GB/T 3916-1997中7.5規定執行。
6.14縫紉線的阻燃性試驗按如下方法執行:高溫烘箱加溫至260℃穩定后,將100m阻燃縫紉線放入烘箱5min后取出。
6.15 耐水色牢度的試驗按GB/T 5713規定執行。
6.16 成品水洗后的尺寸變化率按GB/T 8628、GB/T 9629、GB/T 8630規定執行。
6.17 成品褲后襠縫接縫強力取樣按如下方法執行:取樣要求接縫處于試樣中心且垂直于受力方向,接縫兩端縫紉線打結以防滑脫,試樣尺寸、數量和測試方法按GB/T 3923.1的規定執行。
6.18成品釋放甲醛含量限量的測試方法按GB/T 2912.1規定執行。
6.19 成品的pH值限量的測試方法按GB/T 7573規定執行。
7 檢驗規則
7.1 檢驗分類
質量檢驗應分為材料檢驗、出廠檢驗和型式檢驗。
7.1.1 材料檢驗
材料檢驗由生產企業質檢部門進行,材料檢驗包括面料、輔料、縫紉線、五金件和其他配料,如反光帶的檢驗。檢驗項目包括面料的阻燃性、內在質量、外在質量;縫紉線及反光帶的阻燃性和縫紉線強力、五金件和其他配料的外觀檢驗。
7.1.1.1 面料檢驗
每批抽樣2m,若每批大于1000m時,每1 000m抽驗2m。性能應符合5.1.1要求,不合格需加倍復檢,仍不合格,此批面料停止使用。
7.1.1.2 縫紉線檢驗
每批抽1箱,若每批大于20箱小于80箱時每20箱抽1箱,80箱以上的抽5箱,每箱抽檢2軸。性能應符合5.1.2要求,不合格需加倍復檢,仍不合格,此批縫紉線停止使用。
7.1.2 出廠檢驗(成品檢驗)
500套(件、條)以下抽驗10套(件、條);500至1000套(件、條)抽驗20套(件、條);1000套(件、條)抽驗30套(件、條);1000套以上(件、條)抽驗40套(件、條)。性能應符合5.2、5.3、5.4、5.5、5.6、5.7要求,質量判定按表6有關內容,判定規則按7.1.3.6,不合格需加倍復檢,復檢后仍不合格,此批服裝停止出廠。
7.1.3 型式檢驗
7.1.3.1 在下列情況之一時須進行型式檢驗:
——當材質、工藝、生產單位變化時;
——產品停產一年后恢復生產。
——一年或此后周期性的檢驗。
——主管部門提出或質量仲裁檢驗。
7.1.3.2 型式檢驗的項目包括材料(成衣中的材料)、款式、結構、號型規格、縫制、外觀、理化性能。
7.1.3.3 抽樣方法按7.1.2,其中阻燃性及其他理化性能檢測抽2套(件、條)成品。
7.1.3.4 質量缺陷劃分
單套(件、條)產品不符合本標準規定的技術要求即構成缺陷。
a) 嚴重缺陷
不符合標準規定,且嚴重降低產品使用性能或影響產品外觀的缺陷稱為嚴重缺陷。
b) 重缺陷
不符合標準規定,且對產品的使用性能或產品外觀造成一定影響的缺陷,稱為重缺陷。
c) 輕缺陷
不符合本標準的規定,但對產品的使用性能或外觀影響較小的缺陷,稱為輕缺陷。
7.1.3.5 質量缺陷判定依據
質量判定依據見表6。
表6 質量判定依據
| 項目 | 序號 | 輕缺陷 | 重缺陷 | 嚴重缺陷 | 條款號 |
| 面料 | 1 | 阻燃性其中一項不合格 | 5.1.1.1 | ||
| 2 | 經緯斷裂強力、撕裂強力 小于標準 | 5.1.1.2 | |||
| 3 | 透濕量小于標準規定10% | 超過輕缺陷 | 5.1.1.2 | ||
| 4 | 抗彎度大于標準規定1cm | 抗彎度大于標準規定2cm | 5.1.1.2 | ||
| 5 | 水洗尺寸變化率小于-2.5%,大于-3% | 超出輕缺陷 | 5.1.1.2 | ||
| 6 | 色牢度超出規定0.5級 | 色牢度超出規定1級 | 5.1.1.2 | ||
| 7 | 色差超出規定0.5級 | 色差超出規定1級 | 5.1.1.2 | ||
| 8 | 10%≤熱穩定性≤12% | 12%≤熱穩定性≤15% | 熱穩定性≥15% | 5.1.1.2 | |
| 輔料 | 9 | 襯的色澤與面料不相匹配 | 縫紉線、襯料性能與面料 不相適應。反光帶不阻燃 | 扣、鉤、拉鏈等附件與7.1.1要求不符,破損、脫落、銹蝕 | 5.1.3 |
| 10 | 無商標及安全標識 | 5.5.2.2 | |||
| 11 | 熨燙不平服 | 熨燙泛黃、變色 | 燙熔、燙焦、破損 | 5.6.1 | |
| 12 | 污漬面積小于0.5cm2,位置不明顯,線頭3根以上 | 明顯污漬,大于0.5 cm2 | 嚴重污漬,面積大10cm2 | 5.6.3 | |
| 13 | 縫制輕微抽皺、面里不夠 平服、松緊不適宜、明顯寬窄不一致 | 縫制抽皺明顯、有死褶、 明顯不規整,面里布平 服,毛脫漏大于1cm | 毛脫漏大于2cm | 5.5.2.1 | |
| 14 | 主要部位1處跳一針,縫紉不順直 | 30cm有2處跳一針 | 開斷線,連續跳針,鏈式線跡跳針 | 5.5.2.12 | |
| 15 | 鎖眼釘扣、封結不牢,扣和眼錯位0.5cm以內 | 扣和眼錯位0.6cm以上,扣眼偏歪影響美觀 | 5.5.2.8 | ||
| 16 | 領子面里不平服,偏歪,領尖互差大于0.4cm | 領子反翹,領尖互差大于 0.6cm | 5.5.2.4 | ||
| 17 | 绱袖不夠園順,吃勢不均,前后不適宜,兩袖位罝互差大于2cm | 超出輕缺陷 | 5.5.2.3 | ||
| 18 | 縫紉針距超出標準每一處為一個輕缺陷 | 5.5.1 | |||
| 20 | 前身止口里襟長于門襟 0.4cm;止口反吐,門襟不順直 | 里襟長于門襟0.8cm以上 | 5.5.2.10 | ||
| 21 | 肩縫不順直,兩肩寬窄互差0.8cm | 5.5.2.14 | |||
| 22 | 上拉鏈不平服,露牙不一致 | 5.5.2.10 | |||
| 23 | 兩褲腿長互差0.8cm,腳口互差0.5cm(雙量) | 褲腳明顯歪斜 | 5.5.2.11 | ||
| 服裝成品 理化性能 | 25 | 一項不合格 | 二項不合格 | 5.7 | |
| 甲醛含量 | 26 | 超出范圍 | 5.7.3 | ||
| 規格尺寸 | 27 | 規格尺寸超出標準規定允差50%以內 | 規格尺寸超出標準規定 允差50%以上 | 規格尺寸超出標準規定允差100%以上 | 5.4.2 |
| 結構 | 28 | 與5.3不符 | 5.3 | ||
| 色差 | 29 | 每套(件、條)各部位表面 顏色色差低于4級 | 每套(件、條)各部位表面顏色色差低于3-4級 | 5.6.2 | |
| 注1:以上各項缺陷按序號逐項累計計箅。注2:阻燃性能其中一項不合格,即為該抽檢批不合格。注3:凡屬丟工、少序、錯序均為重缺陷,缺少部件為嚴重缺陷。注4:本規則未涉及到的缺陷可根據標準規定,參照規則相似的惜況判定。 | |||||
7.1.3.6 判定規則
單件產品合格條件:嚴重缺陷數=0 重缺陷數=0 輕缺陷數≤7 或
嚴重缺陷數=0 重缺陷數≤1 輕缺陷數≤3
批量產品合格條件:樣本中的合格品數≥90%,不合格品數≤10%(
7.1.3.7 抽驗中各批量判定數不符合標準時,應進行第二次抽驗,抽驗數量應增加一倍;如仍不符合標準規定,應全部整修或停止出廠。
8 標識、包裝及儲存
8.1 標識
產品標志應符合GB 5296.4有關規定,每套(件、條)服裝應有認證許可標識及信息、產品執行標準、合格證、生產企業名稱、廠址、產品名稱、規格號型、材料組分、洗滌方法和檢驗章,每件產品應附有產品使用說明。
8.2包裝
產品包裝容器應規整牢固、無破損,內外包裝應設防潮層,組合尺寸配套,產品數量準確,整疊規整,碼放整齊,箱內應放入承制方包裝檢驗單,包裝檢驗單應包括產品名稱、號型、承制方名稱、數量、檢驗員、檢驗日期,箱外注明產品名稱、數量、質量、體積、生產日期、承制方名稱。
8.3儲存
產品不得與有腐蝕性物品放在一起,存放處應干燥通風,避免陽光直曬,包裝件距墻面及地面20mm以上,防止鼠咬、蟲蛀、霉變。
附 錄 A
(規范性附錄)
熱防護性能試驗方法
A.1 范圍
本方法規定了水平放置的阻燃防護服裝面料暴露于輻射熱源和對流熱源的隔熱性能的測試方法。
本方法適用于單層或多層阻燃材料的測試,不適用于非阻燃材料。
A.2 原理
阻燃材料樣品水平放置,并距離對流/輻射混和熱源一定距離,當透過的熱量與引起人體組織二級燒傷相等時,記錄暴露的時間。根據樣品與測試傳感器放置位置的不同,用直接接觸來模擬阻燃防護服與身體接觸穿著,用間隔6.5mm來模擬阻燃防護服與身體存在一定空間的情況。
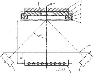
A.3 測試裝置(見圖A.1~圖A.4)
a) 熱源:包括一個輻射熱源和兩個對流熱源,輻射熱源使用一組9個T-150的紅外石英燈管,放在水平放置樣品的正下方一定距離,對流熱源使用兩個點火器,對稱放置在樣品下方,且與樣品中垂線成45°角。
b) 防護柵:放置在熱源和樣品之間,利用防護柵的打開和關閉來控制樣品能否接收到熱源產生的熱量。
c) 試樣支架及安裝板:支架用于樣品的定位,安裝板規格為150mm×150mm,厚度1.6mm,中間有一個100mm×100mm的孔,每個角垂直焊接一個6.5mm高的角鐵。
d) 樣品握持板:規格為149mm×149mm×15mm的鐵板,中間有130mm×130mm的孔,間隔裝置和傳感器組件應不必粘合就能安裝在其上。
e) 間隔裝置:128mm×128 mm×6.4mm,中間有110 mm×110mm的孔。
傳感器組件由以下部分組成:
f) 銅熱量計:直徑40mm,厚度1.6mm,有三個熱電偶相連。
g) 熱量計安裝模塊:128mm×128 mm×13mm,非石棉材料制成的不燃熱絕緣板。熱量計用能耐200℃的粘合劑固定,銅盤的正面噴涂一層黑膠并與安裝模塊的正面接觸。整個傳感器組件,包括銅熱量計共重(1000士10)g。
其他還包括記錄儀、氣體流量計和輻射儀。
A.4 樣品
尺寸為(150mm±2mm)×(150mm±2mm)的樣品三塊(不能含有接縫部位〕。如果阻燃防護服具有多層,則作為一個整體測試。按照GB/T 17596規定在洗滌3次前后分別測試。
A.5 試驗準備
在一個標準大氣壓,20 ℃土2℃和65%士4%的相對濕度條件下保持樣品24h,拿出后3min內進行測試。
A.6 試驗步驟
所有試驗和校準都應在一個通風櫥內進行以便帶走燃燒產物煙或煙氣。將總熱通量定在 83kW/m2士2 kW/m2相當于2.0cal/(cm2·s)士0.1cal/(cm2·s),其中輻射熱源和對流熱源產生的熱通量各占50%,應用試驗銅熱量計測量總熱通量。
樣品的內表面與試驗銅熱量計直接接觸或者是間隔一定的距離(根據需要選擇),打開百葉窗,開始試驗,當傳感器的值達到人體二級燒傷忍耐極限時(傳感器溫度上升35℃~40℃),關閉百葉窗。
A.7 試驗結論
從反應曲線和人體組織忍受曲線相交點(見表A.1),讀出二度燒傷的時間精確到0.1s和相應的暴露熱通量根據式(A.1)計算出熱防護系數TPP值。
TPP = F×T ——————-(A.1)
式中:
TPP——熱防護系數,單位為千瓦秒每平方米(kW·s/m2);
F——暴露熱通量,單位為千瓦每平方米(kW/m2);
T——導致燒傷的時間,單位為秒(s)。
取三塊試樣的平均值為計算結果。
A.8 實驗報告
實驗報告應包栝以下內容:
a) 說明實驗是按照本方法進行的。
b) 試樣名稱、規格及送檢單位。
c) 測試條件及溫濕度。
d) 注明每塊導致燒傷的時間和熱防護指數值及三塊的平均值。
e) 實驗日期及人員。
表A.1 人體組織對二級燒傷的忍耐程度
| 暴露時間T/s | 熱通量F/(kW/m2) | 總熱量/(kW·s/m2) | 熱量計數值 | |
| △T/℃ | △U/mV | |||
| 1 | 50 | 50 | 8.9 | 0.46 |
| 2 | 31 | 61 | 10.8 | 0.57 |
| 3 | 23 | 69 | 12.2 | 0.63 |
| 4 | 19 | 75 | 13.3 | 0.69 |
| 5 | 16 | 80 | 14.1 | 0.72 |
| 6 | 14 | 85 | 15.1 | 0.78 |
| 7 | 13 | 88 | 15.5 | 0.80 |
| 8 | 11.5 | 92 | 16.2 | 0.83 |
| 9 | 10.6 | 95 | 16.8 | 0.86 |
| 10 | 9.8 | 98 | 17.3 | 0.89 |
| 11 | 9.2 | 101 | 17.8 | 0.92 |
| 12 | 8.6 | 103 | 18.2 | 0.94 |
| 13 | 8.1 | 106 | 18.7 | 0.97 |
| 14 | 7.7 | 108 | 19.1 | 0.99 |
| 15 | 7.4 | 111 | 19.7 | 1.02 |
| 16 | 7.0 | 113 | 19.8 | 1.03 |
| 17 | 6.7 | 114 | 20.2 | 1.04 |
| 18 | 6.4 | 116 | 20.6 | 1.06 |
| 19 | 6.2 | 118 | 20.8 | 1.08 |
| 20 | 6.0 | 120 | 21.2 | 1.10 |
| 25 | 5.1 | 128 | 22.6 | 1.17 |
| 30 | 4.5 | 134 | 23.8 | 1.23 |
單位為毫米

1―輻射熱源;
2―對流熱源;
3―防護百葉窗;
4―樣品安裝板;
5―測試樣品;
6―空隙裝置(如果使用非接觸方法);
7—樣品固定板;
8―傳感器模塊;
9―銅熱量計;
10一熱電偶與記錄儀的接線;
11―重物。
圖A.1 測試裝置圖

圖A.2 樣品安裝板的規格
單位為毫米

1 固定熱電偶的銅塊

2 熱電偶的接線
圖A.3 熱量計

圖A.4 熱量計安裝模塊
附 錄B
(規范性附錄)
熱穩定性試驗方法
B.1 應用范圍
本測試方法用于阻燃服裝面料、輔料和組件的熱穩定性測試。
B.2 樣品
樣品尺寸100mm×100mm,沿經、緯向取樣數量各為三塊。如果阻燃防護服具有多層,則作為一個整體測試。根據要求若洗滌時為水洗的應按照標準GB/T 17596規定洗滌3次前后分別測試。
B.3 測試裝置
B.3.1 干燥箱
溫度范圍:20℃~300℃;
溫度波動度:士2.0℃;
有足夠的容積使試驗樣品單獨放置。
B.3.2 測量直尺
采用1m長的毫米刻度尺。
B.4試驗準備
在一個標準大氣壓,溫度20℃±2℃和65%±5%的相對濕度條件下將樣品保持24h。
B.5 試驗步驟
干燥箱加熱至所需溫度A級(260℃±2℃),B、C級(180℃±2℃),迅速將懸掛樣品放入干燥箱內,樣品不應與干燥箱壁接觸,關上干燥箱門起記錄時間,5min后打開干燥箱門,取出樣品。樣品應在2min以內,在常溫環境下測量完長、寬方向的尺寸。
B.6 實驗結論
按式(B.1)計算最大尺寸變化率,以三塊試樣的平均值為檢驗結果。
P = (D1-D2)/ D1×100% ———————-(B.1)
式中:
P——尺寸變化率,單位為%;
D1——加熱前尺寸,單位為厘米(cm);
D2 ——加熱后尺寸,單位為厘米(cm)。
Top